Air Filter For 2001 Yamaha Kodiak 400 . We have quality products for your 2001. 1m+ visitors in the past month if your project is incomplete without powersports air filters, look no further.
from www.50factory.com
if your project is incomplete without powersports air filters, look no further. We have quality products for your 2001. 1m+ visitors in the past month
Filtre à air Yamaha Kodiak 400 (2000 2002) Moose Racing préhuilé
Air Filter For 2001 Yamaha Kodiak 400 1m+ visitors in the past month We have quality products for your 2001. if your project is incomplete without powersports air filters, look no further. 1m+ visitors in the past month
From www.amazon.com
Caltric Air Filter Compatible with Yamaha Kodiak 400 Air Filter For 2001 Yamaha Kodiak 400 1m+ visitors in the past month if your project is incomplete without powersports air filters, look no further. We have quality products for your 2001. Air Filter For 2001 Yamaha Kodiak 400.
From www.affichez-vous.com
2001 yamaha 4x4 kodiak 400 ultramatic Annonce classée Air Filter For 2001 Yamaha Kodiak 400 1m+ visitors in the past month We have quality products for your 2001. if your project is incomplete without powersports air filters, look no further. Air Filter For 2001 Yamaha Kodiak 400.
From www.bigiron.com
2001 Yamaha Kodiak Ultramatic ATV BigIron Auctions Air Filter For 2001 Yamaha Kodiak 400 if your project is incomplete without powersports air filters, look no further. We have quality products for your 2001. 1m+ visitors in the past month Air Filter For 2001 Yamaha Kodiak 400.
From www.amazon.ca
Air Filter & Guide & END CAP Kit 2000 2001 2002 For Yamaha KODIAK 400 Air Filter For 2001 Yamaha Kodiak 400 We have quality products for your 2001. if your project is incomplete without powersports air filters, look no further. 1m+ visitors in the past month Air Filter For 2001 Yamaha Kodiak 400.
From www.facebook.com
2001 Yamaha Kodiak 400 Powersport Vehicles Apollo, Pennsylvania Air Filter For 2001 Yamaha Kodiak 400 1m+ visitors in the past month We have quality products for your 2001. if your project is incomplete without powersports air filters, look no further. Air Filter For 2001 Yamaha Kodiak 400.
From startpchulp.nl
Cyleto Oil Filter For YAMAHA YFM400 KODIAK 400 AUTO 2X4 2000 2001 2003 Air Filter For 2001 Yamaha Kodiak 400 We have quality products for your 2001. if your project is incomplete without powersports air filters, look no further. 1m+ visitors in the past month Air Filter For 2001 Yamaha Kodiak 400.
From pwcparts.com
Genuine Yamaha Kodiak 400 YFM400 20002002 Air Filter 5GH144510000 Air Filter For 2001 Yamaha Kodiak 400 We have quality products for your 2001. 1m+ visitors in the past month if your project is incomplete without powersports air filters, look no further. Air Filter For 2001 Yamaha Kodiak 400.
From www.amazon.com
Air Filter for Yamaha Kodiak 400 YFM400 / Kodiak 450 Air Filter For 2001 Yamaha Kodiak 400 We have quality products for your 2001. if your project is incomplete without powersports air filters, look no further. 1m+ visitors in the past month Air Filter For 2001 Yamaha Kodiak 400.
From www.megazip.net
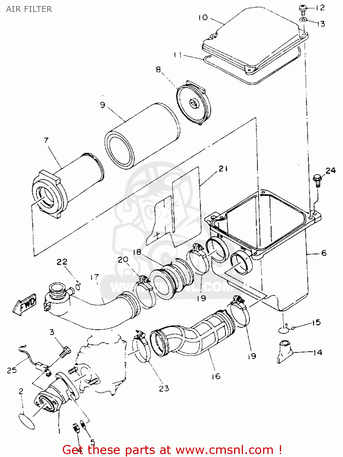
Intake for 2001 Yamaha KODIAK 400 KODIAK 400(N) Europe (010) sales Air Filter For 2001 Yamaha Kodiak 400 if your project is incomplete without powersports air filters, look no further. 1m+ visitors in the past month We have quality products for your 2001. Air Filter For 2001 Yamaha Kodiak 400.
From pwcparts.com
Genuine Yamaha Kodiak 400 20002002 Air Filter Cage Guide 5GH144580100 Air Filter For 2001 Yamaha Kodiak 400 We have quality products for your 2001. if your project is incomplete without powersports air filters, look no further. 1m+ visitors in the past month Air Filter For 2001 Yamaha Kodiak 400.
From en.50factory.com
Air filter Yamaha Kodiak 400 (2000 2003) Twin air â € “Quad room Air Filter For 2001 Yamaha Kodiak 400 if your project is incomplete without powersports air filters, look no further. We have quality products for your 2001. 1m+ visitors in the past month Air Filter For 2001 Yamaha Kodiak 400.
From www.quadbikesrus.com
AFTERMARKET FOAM AIR FILTER FOR THE YAMAHA KODIAK YFM400 QBRUS ESSEX Air Filter For 2001 Yamaha Kodiak 400 1m+ visitors in the past month if your project is incomplete without powersports air filters, look no further. We have quality products for your 2001. Air Filter For 2001 Yamaha Kodiak 400.
From www.50factory.com
Filtre à air Yamaha Kodiak 400 (2000 2002) Moose Racing préhuilé Air Filter For 2001 Yamaha Kodiak 400 1m+ visitors in the past month if your project is incomplete without powersports air filters, look no further. We have quality products for your 2001. Air Filter For 2001 Yamaha Kodiak 400.
From www.ebay.com
Air & Oil Filters For Yamaha Kodiak 400 YFM400F/Kodiak400 YFM400FAH Air Filter For 2001 Yamaha Kodiak 400 1m+ visitors in the past month We have quality products for your 2001. if your project is incomplete without powersports air filters, look no further. Air Filter For 2001 Yamaha Kodiak 400.
From www.ebay.com
Twin Stage Air Filter for Yamaha Kodiak 400 19961999 No Toil 38005 eBay Air Filter For 2001 Yamaha Kodiak 400 We have quality products for your 2001. if your project is incomplete without powersports air filters, look no further. 1m+ visitors in the past month Air Filter For 2001 Yamaha Kodiak 400.
From repairenginehunter88.z19.web.core.windows.net
2001 Yamaha Kodiak 400 Parts Air Filter For 2001 Yamaha Kodiak 400 if your project is incomplete without powersports air filters, look no further. We have quality products for your 2001. 1m+ visitors in the past month Air Filter For 2001 Yamaha Kodiak 400.
From www.ebay.com
NEW 2000 2002 YAMAHA KODIAK 400 YFM 400 OEM AIR FILTER ELEMENT 5GH Air Filter For 2001 Yamaha Kodiak 400 We have quality products for your 2001. if your project is incomplete without powersports air filters, look no further. 1m+ visitors in the past month Air Filter For 2001 Yamaha Kodiak 400.
From www.cmsnl.com
Yamaha YFM400FWE KODIAK 1993 AIR FILTER buy original AIR FILTER Air Filter For 2001 Yamaha Kodiak 400 We have quality products for your 2001. 1m+ visitors in the past month if your project is incomplete without powersports air filters, look no further. Air Filter For 2001 Yamaha Kodiak 400.